お問い合わせ
検索
English
English
閉じる
検索
企業情報
事業概要
株主・投資家のみなさまへ
サステナビリティ
採用情報
ニュース
企業情報
企業情報 トップページ
会社案内
経営理念・経営計画・ブランドステートメント
資材調達
電力自由化について
発行冊子・動画
グループ企業
知る・楽しむ
事業概要
事業概要 トップページ
原子力発電
火力発電
再生可能エネルギー
国際事業
エネルギーの現状
電気の安全・安定供給
VPP(仮想発電所)
地域活性化・まちづくり
株主・投資家のみなさまへ
株主・投資家のみなさまへ トップページ
経営方針
決算・IR関連情報
決算短信
IRカレンダー
財務ハイライト
株主・株式情報
社債関連情報
個人投資家のみなさまへ(凱旋門 賞 ブック メーカーグループについて)
サステナビリティ
サステナビリティ トップページ
E(環境)
S(社会)
G(ガバナンス)
採用情報
採用情報 トップページ
新卒採用ポータルサイト
インターンシップ
キャリア採用
グループ採用
障がい者採用
ミライスイッチ
関電まる見え!チャンネル
内定者サイト
モトカン(アルムナイコミュニティ)
ニュース
ニュース トップページ
プレスリリース
お知らせ
HOME
企業情報
プレスリリース
1999
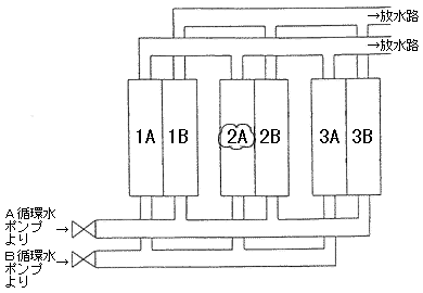
復水器概要図
凱旋門 賞 ブック メーカー
プレスリリース
1999
1999年8月4日
復水器概要図
復水器詳細図
復水器細管設備仕様 材質:復水器用黄銅管 本数:10,164本/水室 直径:約25.4mm(外径) 肉厚:約1.2mm 長さ:約15.3m
概略系統図
高浜発電所2号機の出力降下について